How to install a washing machine with a water tank
Household appliances with water tanks are an ideal solution for spaces without a central water supply. However, connecting a washing machine with a water tank requires more careful preparation, especially when choosing the installation location. The tank will need to be constantly refilled, meaning it must be easily accessible.
What is the plan of action?
Installing a Gorenje washing machine with a water tank is a complex task, but if you follow all the instructions, it won't cause any unnecessary complications. You can do it without calling a technician, as long as you follow the correct sequence of steps:
- carefully read the operating instructions for the household appliance;
- remove the factory packaging;
- leave the device to “stand” for 2-3 hours;
- decide on the installation location;
- remove the transport bolts;

- level the device;
- connect to the electrical network and drain.

The appliance manual is your first aid when installing a washing machine. It provides a detailed, step-by-step description of all installation steps, including location requirements, several connection methods, and various tips. The information is presented diagrammatically, making the connection process easier to understand. It's also important to remove all original packaging from the appliance—stickers, foam, paper, etc.
It's definitely worth opening and inspecting the drum—the manufacturer often stores spare parts, hoses, and documentation in it.
The next step is to let the washing machine sit undisturbed. During warmer months, the appliance should sit undisturbed indoors for 1-2 hours; in winter, this period is recommended to be extended to three hours. This process is necessary to soften the rubber components of the equipment, which, when fixed and exposed to cold, lose their elasticity and flexibility.
Choosing a location for a washing machine with a tank is a responsible task. Ideally, buyers decide on this before purchasing the appliance and select the model and its dimensions based on the available space.
You should also pay attention to the following nuances:
- proximity to utility lines – the drain hose and electrical wire must be able to easily reach the outlet and sewer drain;
- the floor under household appliances must be strong and level, covered with tiles or concrete, since the wooden surface requires additional strengthening and protection;
- the tank requires a lot of space and needs to be placed so that there is access to its upper surface, since this is where the hole for filling with water is located;

- To avoid problems with water intake from the tank, install the tank and washing machine strictly at the same level.
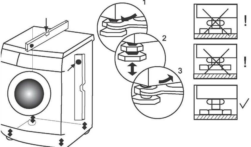
An important step that many washing machine buyers forget is removing the shipping bolts. These bolts secure the drum when moving the appliance, but the machine shouldn't operate with them in place. Attempting to start the motor with the shipping bolts still in place can damage both the drum and the motor.
You'll have to pay for any repairs yourself, as these damages aren't covered by the warranty. Removing the bolts is easy: you'll need a special wrench or regular pliers to unscrew the fasteners from their sockets, then replace them with the plugs included with the washing machine.
Organization of the machine's power supply
When choosing a location for a household appliance, consider access to the electrical outlet. It will need to be either installed or replaced, especially if it's in a summer house or a private home where electricity was installed many years ago.
The average power cord length is 1.5 meters, so the distance from the outlet to the installation site should be within this range. The power supply voltage should match the manufacturer's specifications for the selected appliance, and moisture protection should also be ensured. Connecting a washing machine with a tank through an extension cord is strictly prohibited by the manufacturer.Grounding is another important requirement for an electrical outlet. It will protect users from electric shocks and the home from fire.
Sewage disposal
While manufacturers have managed to solve the problem with the water supply to the washing machine, the user will have to worry about draining the waste water. If the room has no plumbing or sewer system, the following method is suitable: connect a regular drain hose to the drain hose and run it outside. This method is ideal for a summer cottage: the water will be absorbed into the ground or evaporate, preventing the formation of sewage channels and eroded soil.
If a tankless sewer is planned for year-round use in a rural area or a private home, a proper drainage pit should be provided. The simplest option is if the house already has a sewer system, even if it's temporary or improvised. In this case, the drain hose is simply connected to it through a tee, observing all installation standards and requirements.
To connect the drain of the machine, we use a 50 tee and a special rubber cuff.
Most often, the hose is raised 50-60 cm from the floor using special fasteners, which allows for the required bend. This creates an airlock in the hose, similar to a regular siphon, preventing unpleasant odors from entering the room. After completing all installation and connection steps of the washing machine, fill the tank with water and perform a test run without any laundry or detergent.
Interesting:
Readers' comments
Headings
Washing machine repair
For buyers
For users
Dishwasher







Add a comment