Работа с пералня
Отложен старт на пералня Haier Дори и никога преди да не сте използвали функцията за отложен старт, изпробвайте я поне веднъж на вашия...
Отложен старт на пералня Samsung Като настроите правилно функцията за отложен старт, можете да стартирате пералнята си Samsung, когато пожелаете. Машината ще се активира автоматично в зададения час...
Къде да налея омекотител в пералня Beko? За да се гарантира, че климатикът работи правилно и не попада в канализацията заедно с отпадъчните води, той трябва да се напълни в правилния...
Отложен старт на пералня Bosch Понякога искате вашата пералня Bosch да започне да работи след известно време, а не веднага. Това може да се постигне чрез регулиране...
Как да отключите пералня Gorenje Колкото и да дърпате вратата на пералнята Gorenje, тя няма да се отвори. Домакини, които са се сблъсквали с „вечно“ запушване, дори пластмасови...
Режими на пералня Hisense Всяка програма е предназначена за специфичен вид пране, количество пране и степен на замърсяване, така че преди да стартирате пералнята...
Почистване на барабана на пералня Biryusa За да предотвратите запушването на новата ви пералня Biryusa, периодично активирайте функцията за почистване на барабана. Как да активирате...
Режими на пералня Weissgauff Кои предмети се перат най-добре на коя програма? За да отговорите на този въпрос, трябва внимателно да проучите как работят програмите...
Как да използвате пералня Weissgauff Ако не знаете как да използвате пералня Weissgauff с предно зареждане, може да се окаже, че я счупите още от първите стъпки.
Как да отворите вратата на пералня Weissgauff Обикновено пералнята Weissgauff отключва вратата автоматично след края на програмата, но това може да се случи. Как да отворите вратата...
Включване на пералнята Weissgauff Пералня Weissgauff, пълна с различни функции и програми, може да се повреди още от самото начало, ако я включите неправилно...
Как да използвате пералня Hisense Пералнята Hisense е интуитивна за употреба, но това може да бъде и объркващо, тъй като има много нюанси, които трябва да се...
Почистване на барабана на пералня Hisense За да предотвратите натрупването на мръсотия във вашата пералня Hisense, която може да се окаже върху прането ви, трябва периодично да пускате...
Функция за самопочистване на пералня Haier Стотици пъти домакините „пускат“ пране през пералнята Haier, без нито веднъж да включат режима на самопочистване, а междувременно...
Нулиране на програмата на пералня Atlant Функционалността на пералнята Atlant позволява аварийно рестартиране на програма, която по някаква причина е спряла да работи правилно и е замръзнала. Какво...
Символи на пералнята Atlant На контролния панел на пералнята Atlant няма много икони, но все пак трябва да се ориентирате в тях...
Как да източите вода от пералня Atlant Когато пералнята ви Atlant спре да работи, особено по време на програмата, не можете просто да оставите нещата на случайността.
Как да почистите пералня Atlant Ако можехте да видите напречен разрез на вашата пералня Atlant в момента, щяхте да се изненадате как...
Първо стартиране и пране на пералня Atlant Новата пералня Atlant е по принцип готова за употреба, но за да избегнете повреда на прането си, най-добре е да я пуснете за първи път...
Пералнята Atlant не се върти добре. Често правилно функциониращата пералня Atlant не успява да отстрани влагата от прането правилно. Защо машината центрофугира лошо?
Функция за почистване на барабана в пералнята Dexp Когато използвате пералня Dexp, не забравяйте функцията за почистване на барабана. Тя трябва да се включва периодично и без...
Пране на пухено яке в пералня Candy Простото хвърляне на пухено яке в барабана на пералня Candy и пускането на произволен цикъл няма да гарантира положителен резултат. ...
Как да намалите времето за цикъл на пералня Домакините се хвалят, че могат да намалят времето за пране в автоматичната си пералня, без да жертват резултатите. Как...
Къде да налеете гел в пералня Haier Ако неправилно изсипете перилен препарат в отделението за перилен препарат на пералнята Haier, той ще работи по-неефективно и дрехите ви може...
Какво представлява i-Refresh в пералня Haier? Като внимателно разгледа етикетите на контролния панел на пералнята Haier, собственикът на жилище може да открие опцията i-Refresh. Какъв е този странен алгоритъм...
Къде да налеете омекотител в пералня Haier Предпочитате да наливате омекотител директно в барабана на пералнята си Haier? Не правете това, тъй като ще...
Как да изключите звука на пералня Haier Въпреки че на панела на пералнята Haier няма бутон за изключване на звука, собственикът на уреда може да се отърве от...
Къде да налеете омекотител в пералня Candy Ако налеете омекотител неправилно, няма да е от полза. Пералнята Candy има специална тава и...
Къде да налеете перилен препарат в пералня Candy Вместо прах, хората често предпочитат гел за пране, но не много хора знаят къде да го изсипят в пералнята...
Почистване на пералнята Candy Старателното почистване на пералнята Candy може да изглежда лесно, но всъщност е сложен процес. Пропускате нещо...
Как да използвате правилно пералня DEXP Можете да използвате пералнята DEXP за пране на дрехи или спално бельо без никакви инструкции. Няма...
Включване и пране в пералня DEXP Четенето на инструкциите на производителя на пералнята DEXP от началото до края би било полезно, но собственикът няма време да го направи...
Първо използване на пералня DEXP Пералните машини DEXP, макар и добре проектирани, трябва да се използват правилно. Това започва с правилно първоначално пускане в експлоатация. Какво точно трябва да се направи...
Програми за пране за пералня Biryusa Разработчиците на перални машини Biryusa са взели най-доброто от други марки и са създали набор от режими на пране, които ще...
Включване на цикъла на центрофугиране на пералня Candy Не всички собственици на перални машини Candy могат да включат отделен цикъл на центрофугиране на своите машини, но тази опция...
Нулиране на пералня Gorenje Пералня Gorenje, която е възникнала грешка, трябва да се рестартира, тъй като има вероятност тя да възобнови работата си, независимо от всичко...
Как да използвате пералня Hi Малко хора са имали опит с перални машини Hi преди, но въпреки това хората активно ги купуват, отбелязвайки, че...
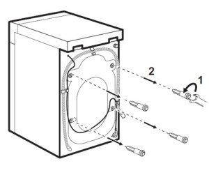
Премахване на транспортните болтове на пералня Dexp Преди транспортиране барабанът на пералнята Dexp е обезопасен, за да предпази вътрешните компоненти. Транспортните болтове трябва да бъдат отстранени преди употреба. Как...
Как да използвате пералня Samsung Домакините, в някои случаи, предпочитат да действат интуитивно. Това твърдение се отнася и за инсталирането на пералня Samsung. Много от тях започват...
Къде да сложите перилен препарат в пералня Dexp За да сте сигурни, че вашата пералня Dexp пере дрехите ви правилно, трябва да изсипете перилния препарат в съответното отделение. Къде точно добавяте...
Програми за пералня с горно зареждане Electrolux Разбирането на специфичните характеристики на различните режими на пране интуитивно може да бъде доста трудно, особено когато става въпрос за перални машини...
Къде да сложите перилен препарат в пералня Weissgauff Като последна мярка, можете да излеете перилния препарат директно в барабана на вашата пералня Weissgauff, но това не бива да се прави постоянно. Трябва...
Как да отключите вратата на пералня Dexp Да счупите вратата на пералня Dexp, ако не се отваря, е последното нещо, което трябва да направите. Има много начини да я отворите отново...
Как да калибрираме пералня Samsung Ако внимателно прочетете ръководството на вашата пералня Samsung, ще намерите раздел за калибриране. Нека обясним...
Калибриране на пералня Ако вече сте инсталирали и тествали новата си пералня, тя трябва да бъде калибрирана. Това се прави с модели, които могат...
Как да отворите капака на канала в долната част на пералнята При нормални условия всеки собственик на жилище може лесно да отвори капака на канала, този, който се намира в долната част на пералнята. Но...
Програми за пералня с горно зареждане Ardo Контролният панел на пералнята с горно зареждане Ardo има много объркващи икони, показващи режимите на пране. ...
Деликатно центрофугиране в пералня Някои евтини перални машини имат вградени доста екзотични алгоритми, като например деликатен цикъл на центрофугиране. Какво представлява тази програма и как...
Как да стартирате цикъла на центрофугиране на пералня Ariston Много перални машини Ariston нямат дисплей, а само индикатори. Как да включите цикъла на центрофугиране, ако не знаете какво правят отделните лампички? Къде...
Стенен канал за пералня За да не пречи окабеляването на пералнята и да не разваля декора на стаята, тя трябва да бъде скрита в стената. Как да направите това...
Включване и стартиране на пералнята Hisense За да използвате пералня Hisense, е необходимо правилно да подготвите уреда, а след това, с чиста съвест, да го включите и стартирате...
Подов сифон за пералня Често майсторите изрязват канали в замазката и създават дренаж в пода, тъй като няма други места за инсталиране на комуникации за пералнята...
Включване и стартиране на пералнята Biryusa Всяка пералня Biryusa има стандартни, интуитивни контроли, така че всеки може да я включи и да започне пране. Междувременно...
Как да използвам пералнята Biryusa? След като разгледате контролния панел и отделението за перилен препарат, можете да започнете да използвате пералнята Biryusa. Но все пак е най-добре да...
Как да използвам пералнята Fairy? Да се научите как да използвате пералня Fairy не е чак толкова трудно; инструкциите ще ви помогнат. Но е важно да разберете, че това е полуавтоматична...
Къде да сложа перилен препарат в пералнята си Zanussi? Собствениците на перални машини Zanussi често не знаят къде да сложат перилния препарат. По-точно, те си мислят, че го добавят правилно...
Как да отворите вратата на пералня Beko При нормална работа вратата на пералнята Beko се отключва автоматично. Не е необходимо усилие за отварянето ѝ. Понякога обаче...
Как да почистите пералня Beko Като пренебрегвате почистването и поддръжката на вашата пералня Beko, си създавате редица проблеми в бъдеще, чиито решения ще ви струват...
Как правилно да поставите маркуча за източване на пералнята Изключително важно е внимателно да се обмисли свързването на пералнята към канала. Как да позиционирате маркуча за източване, за да избегнете потенциални проблеми...
Как да включите цикъла на центрофугиране на пералня Indesit Не е нужно пералнята Indesit да изплаква или пере дрехите ви, а само да ги центрофугира? Включете това отделно...
Как да центрофугирате пране без изплакване на пералня LG Не всички перални машини LG имат отделен цикъл на центрофугиране от цикъла на изплакване, така че включването им е съпроводено с определени...
Как да изключите цикъла на центрофугиране в пералня Indesit Когато е необходимо пране, но не и центрофугиране, домакинята започва да търси как да изключи последния етап от програмата в пералнята Indesit, ...
Как да извадите тавата на пералнята Ariston Дърпането на чекмеджето на пералнята Ariston, за да го извадите, е безполезно. Може дори да го счупите. За да извадите този елемент...
Имам ли нужда от воден филтър за пералнята си? Дори един обикновен проточен воден филтър може да предпази пералнята ви от множество проблеми, особено от непосредствени повреди...
Къде да сложите перилен препарат в пералня Haier Когато отваря чекмеджето на пералня Haier, домакинята може да се чуди къде да сложи перилния препарат, тъй като точно пред нея има поне три отделения. ...
Защо пералнята има три отделения? След като извади чекмеджето на пералнята, собственикът е озадачен от трите отделения вътре. Няма нито едно допълнително отделение във диспенсъра.
Режими на пране на вертикална пералня Indesit Уникалните перални машини с горно зареждане на Indesit, освен други предимства, имат добър избор от режими, които осигуряват много високо качество...
Използване на пералня Candy Smart Touch Снабдена с модерни технологии, пералнята Candy Smart Touch често се дава на възрастни домакини, които използват само една или две програми. И така, въпросът...
Режим Smart Touch в пералнята Candy Новото приложение Smart Touch ви помага да свържете пералнята си Candy със смартфона си. Ако тази функция е нова за вас,...
Програмата „Хигиена“ в пералня Haier Съвременната автоматична пералня Haier предлага широка гама от програми. Сред тях експертите открояват полезния режим „Хигиена“, без който...
Нулиране на програмата на пералня Hotpoint-Ariston Независимо дали вашата пералня Hotpoint-Ariston работи или е замръзнала, често се налага бързо и безопасно да рестартирате програмата. Това може да се направи без...
Как работи функцията за пара в пералня LG? Функцията за пара присъства в много перални машини LG от доста време, но домакините все още...
Програмата "Освежаване" в пералнята Haier Хората, които използват перални машини Haier, често се оплакват от игнорирането на режима „Опресняване“. Защо...
Режим Speed Perfect на пералня Bosch Пералните машини Bosch имат режими с ясни имена. Но например Speed Perfect не...
Програмата за премахване на петна в пералнята Ако използвате правилно режима „Премахване на петна“, вашата автоматична пералня ще постигне много по-добри резултати. Но инструкциите на производителя...
Нулиране на програмата на пералня Samsung Можете да рестартирате правилно пералнята си Samsung, без да повредите модула ѝ, само ако следвате инструкциите.
Режими на пране на вертикалната пералня Zanussi Пералнята с горно зареждане Zanussi е популярен избор сред много собственици на жилища. Този уред е отличен...
Програми за перални машини Haier Наум мога да посоча няколко уникални режима, които могат да се намерят само в пералните машини...
Нулиране на програмата на пералня Bosch Би било чудесно, ако инженерите измислят бутон, който да нулира програмата и да рестартира пералнята Bosch. За съжаление, такъв бутон няма...
Машинно пране за 15 минути Можете да освежите старателно дрехите си в пералнята само за 15 минути. Това не изисква дълъг цикъл на пране...
Програми за перални машини Innex Невъзможно е да се запознаете с пералнята Innex на Indesit, без да разгледате нейните режими. А тя има изобилие от интересни програми.
Програмата за смесени тъкани в пералнята Като се има предвид, че до 80% от гардероба на средностатистическия човек се състои от смесени материи, не е изненадващо, че...
Режим на накисване в пералнята По-възрастните домакини често накисват особено мръсно пране в леген, преди да го заредят в пералнята. Това...
Защо ви е необходима функция за пара в пералня LG? Отидете във всеки магазин за домакински уреди и сред другите перални машини със сигурност ще намерите уред на LG с...
Програми за перални машини Vestel Пералнята Vestel има много интересни програми, които домакините рядко използват и то напразно. Някои алгоритми, когато бъдат подложени на изпитание...
Програми за перални машини Whirlpool Първите автоматични перални машини Whirlpool са имали 3-4 програми. Днес броят на програмите е десетки. Домакините смятат, че повечето...
Програмата „Коприна“ в пералнята Колко често активираме цикъла "Коприна" след зареждане на пране в пералнята? Повечето домакини биха казали...
Предварително пране в пералня Indesit В специални случаи домакините предпочитат да накиснат прането в леген и след това да го заредят в пералнята Indesit. Защо...
Предварително пране в пералня Samsung Оплаквате ли се, че пералнята ви Samsung не почиства добре? Опитайте да активирате правилно функцията „Почистване“.
Предварително пране в пералня LG Бутонът за предварително пране е винаги на видно място за потребителите на перални машини LG, но за съжаление малцина обръщат внимание на...
Предварително пране в пералня Ariston Ако не вариш много замърсени дрехи, определено трябва да използваш предварително пране. Има специфичен алгоритъм за това...
Как да отключите пералня Samsung Eco Bubble Случайно сте натиснали няколко бутона и сега вашата пералня Samsung Eco Bubble не реагира на никакви команди? Това...
Възможно ли е да се източва вода от пералня и съдомиялна машина в септична яма? Ако слагате препарати, съдържащи хлор, и други препарати в съдомиялната или пералнята си, трябва да знаете, че...
Как да изключите пералня Indesit Не всеки потребител знае как бързо и безопасно да изключи пералнята си Indesit, но в случай на спешност...
Как да включите пералня Indesit Някои перални машини Indesit, според някои потребители, са доста трудни за включване и като цяло не е ясно как да...
Как да включите пералня Bosch Maxx 5 След като разгледате контролния панел на пералнята Bosch Maxx 5, можете лесно да включите машината и да започнете да перете. ...
Как да включите пералня Ariston Изглежда, че никой няма проблеми с включването на пералнята Ariston и след това стартирането на прането. ...
Как правилно да използвате пералня Gorenje с резервоар за вода В отдалечено село, където почти няма „благоприятства на цивилизацията“, хората използват автоматична пералня Gorenje с резервоар за вода...
Изплакване на пералня Candy За да сте сигурни, че вашата пералня Candy работи още по-добре, трябва периодично да пускате цикъл на изплакване. Ето как да направите това...
Как да премахнете транспортните болтове на пералня Haier Не всеки начинаещ монтажник може да намери и премахне транспортните болтове от пералня Haier. Струва ли си...
Задържане на изплакването в пералня Защо задържането на изплакването е толкова полезно? Това е въпрос, който често се задава от собствениците на жилища, след като са проучили възможностите на пералнята си. Всъщност тази функция се рекламира...
Как да включите режима Super Rinse в пералня LG Функцията „Супер изплакване“, която се намира в съвременните перални машини LG, ще ви помогне надеждно да премахнете остатъците от перилен препарат от прането си. Как да я включите...
Икона за допълнително изплакване на пералня Bosch За да активирате функцията "Допълнително изплакване" на вашата автоматична пералня Bosch, трябва да намерите съответния бутон. Специален...
Колко дълго трае цикълът на изплакване в пералня? Дисплеят на пералнята показва общото време на програмата. Колко време отнема цикълът на изплакване? Времето може да варира...
Как да включите цикъла на изплакване на пералня Bosch Пералнята Bosch не винаги може да изплаква дрехите старателно. Понякога се нуждае от малко помощ от цикъла на изплакване.
Какво означава иконата на снежинка на пералнята? Най-основните настройки на пералнята обикновено са обозначени на контролния панел с разбираеми символи. Например, какво...
Свързване на пералня Candy Smart към телефон Въпреки че пералнята Candy Smart е оборудвана с функция за телефонна връзка, свързването на двете устройства независимо от първия опит...
Как да използвате пералня Hotpoint-Ariston Неправилното използване на пералнята Hotpoint-Ariston може да причини много проблеми, затова е важно да прочетете инструкциите и да разберете кои програми и...
Как да използвате пералня Bosch Maxx 4 Автоматичната пералня Bosch Maxx 4 има интуитивно управление, така че домакините рядко гледат инструкциите, мислейки си...
Функция за пране с пара в пералнята LG Съвременните перални машини LG са се научили да премахват замърсявания не само с вода, но и с гореща пара. Как работи този тип...
Как да използвам функцията Tag on в пералня LG? Като активирате Tag On, можете да синхронизирате пералнята си LG със смартфона си. Как да използвате тази функция, за какво е и...
Как да използвате пералня Gorenje Новите перални машини Gorenje имат уникална система за управление, която може да е непозната за някои собственици на жилища. За да избегнете...
Функция за пране с пара в пералня Haier В автоматична пералня Haier можете не само да перете дрехите си, но и да ги третирате със струя гореща вода...
Къде да сложа омекотител за тъкани в пералня Hotpoint-Ariston? Доста лесно е да объркате отделенията за перилен препарат в пералня Hotpoint-Ariston, тъй като тавите изглеждат различно от тези в...
Първо стартиране на пералнята Haier Току-що купихте и свързахте чисто новата си пералня Haier и нямате търпение да изперете планина от пране? Не...
Деликатен цикъл на пране в пералня Indesit Най-добре е да перете нощници, сутиени, бикини и чорапи на ръка, но ако се чувствате мързеливи, деликатен цикъл ще свърши работа.
Деликатен цикъл на пране в пералня Bosch За да избегнете разочарование от вашата пералня Bosch, трябва да разберете всички налични програми...
Разлики между деликатно и ръчно пране в пералня Обикновените хора твърдят, че деликатното пране в автоматична пералня не се различава от ръчното пране, казвайки, че това е просто маркетингов трик...
Първо използване на пералня Indesit Не бързайте да стартирате пералнята си Indesit след закупуването и свързването ѝ. Първо, следвайте инструкциите за първи път без...
Първо стартиране на пералнята Samsung Ако сами настройвате пералнята си Samsung, е изключително важно да направите първите стъпки правилно. В...
Деликатен цикъл на пране в пералня Samsung Автоматичната пералня Samsung има недооценена програма за деликатно пране. Подобрява ли тази програма ефективността на прането?
Първо стартиране на пералнята Electrolux След като инсталирате пералнята си Electrolux, не бързайте да зареждате прането за първото пране. Прочетете внимателно нашите инструкции и следвайте тези стъпки...
Деликатен цикъл на пране в пералня LG Жалко е, че не можете да перете целия си гардероб на цикъла "Памук", който е цикълът по подразбиране на пералнята LG. За специални...
Деликатен цикъл на пране в пералня Ariston Като включите цикъла за деликатно пране, можете да сте сигурни, че вашата пералня Ariston ще се отнесе към дрехите ви с най-голяма грижа. Без интензивно...
Нулиране на пералня Electrolux Електрониката на пералнята Electrolux обикновено се държи предвидимо, но се случват и неочаквани системни повреди. Как да отстраните такъв проблем...
Нулиране на пералня Beko След като веднъж е заседнала на една програма, вашата пералня Beko няма да може да възобнови нормалната си работа, докато контролният модул не бъде нулиран. ...
Нулиране на пералня Bosch Често е необходимо нулиране, за да може пералнята Bosch да работи отново правилно. Тази процедура е проста и със сигурност не...
Нулиране на пералня Samsung Няма специален бутон за нулиране на автоматична пералня Samsung, но това не означава, че тя ще се нулира...
Нулиране на пералня Haier Ако по някаква причина вашата пералня Haier не продължи да пере и е заседнала в даден момент, можете да я „събудите“...
Нулиране на пералня Zanussi Неизправност може да парализира контролния модул на пералня Zanussi, предотвратявайки продължаването на цикъла на работа на машината. Решението може да е...
Деликатен цикъл на пране в пералня Candy Ако рискувате да зареждате деликатни тъкани в пералнята си Candy, поне използвайте цикъла за деликатно пране. Третиране...
Икони за пералня Siemens На дисплея и близо до бутоните на пералня Siemens има доста различни символи. Няма обяснение, така че...
За какво е третото отделение в тавата на пералнята? „Мистериозното“ трето отделение на чекмеджето за перилен препарат на пералнята е незаслужено игнорирано от собствениците на жилища. За какво е то и как...
Какво е i-time в пералня Haier? Съвременните автоматични перални машини Haier имат толкова много различни функции, че домакините отдавна са спрели да им обръщат внимание...
Как да отворя вратата на пералня Hansa? Ако възникне неизправност, вашата пералня Hansa може да остане заключена и вратата да не се отваря. Как да заобиколите заключването...
Нулиране на пералнята Hansa Автоматичните перални машини Hansa често имат проблеми с програмите и функциите си. За да възстановите машината в работно състояние, е необходимо...
Програмата „Ризи“ в пералнята Beko Някои специални програми за перални машини Beko са непознати за домакинствата и често се пренебрегват, което е жалко. Например...
Програмата Mix в пералня Beko Имате ли купчина мръсно пране, изработено от различни материи, и не искате да го сортирате? Специален перилен препарат може да ви помогне да го изперете...
Свързване на пералня към Wi-Fi За да извършите дистанционна диагностика, вашата пералня LG трябва да е свързана към Wi-Fi. Процедурата е проста, но има някои нюанси, които...
Деликатно пране в пералня LG Мислите да перете деликатни тъкани в пералнята си LG? Изберете деликатен цикъл, тъй като тази програма е специално разработена за нежно...
Как да използвате пералня с горно зареждане? Ако никога преди не сте използвали пералня с горно зареждане, не се притеснявайте. Можете да научите как да...
Как да почистите отделението за перилен препарат на пералнята от втвърден прах? Автоматичната пералня може да спре да работи, ако не се почиства. Това важи особено за тавата, където...
Как работи Aquastop в пералня? Как работи аквастоп? Между другото, той се инсталира не само в перални машини, но и в съдомиялни машини.
Режими на пране в пералнята Hansa За да осигурите най-добри резултати от прането, трябва да се запознаете с всички режими, налични на вашата пералня...
Супер 40 цикъл в пералня Закачливото име на режима "Super 40" със сигурност привлича вниманието, но наистина ли пералнята пере по-добре на тази програма? ...
Нощна програма в пералнята Малко хора използват нощния режим в автоматична пералня, просто защото не всеки знае за него и...
Режим на ежедневно пране в пералня За да освежи леко замърсено пране, домакинята включва програмата за ежедневно пране. Не всички перални машини имат тази...
Програмата "Спорт" в пералнята Когато включват режим "Спорт", домакините не разбират напълно кои дрехи се перат най-добре на тази програма в пералня. ...
Как да настроя допълнително изплакване в пералня? За да сте сигурни, че пералнята ви изплаква добре, понякога е необходимо да активирате допълнителен цикъл на изплакване. Как да направите това на пералня?
Програмата "Baby Wash" в пералнята Избирането на цикъла "Baby Wash" е лесно, но ще осигури ли правилната грижа за прането на вашето бебе? Не очаквайте...
Режим на леко кипене в пералнята LG Името „Gentle Boil“ би трябвало да вдъхва доверие. И наистина, тази програма за пералня на LG привлича вниманието на собствениците на жилища...
Програма за работа на открито в пералня Siemens Домакините не са склонни да включват режима „На открито“ в своите перални машини Siemens, защото не разбират как работи. ...
Какво представлява биофазата в пералнята? Много домакини знаят, че пералните им машини имат биофазна програма, но почти никога не я използват, защото...
Функция за варене в пералня Домакините знаят от рекламите, че цикълът на кипене може да бъде потенциално опасен за пералнята им. Наистина ли това е вярно?
Какво е био-пране в пералня? Наистина ли пералните машини с усъвършенствана функция за биопране са по-добри от обикновените машини? Какво представлява тя? Как да използвам този алгоритъм и...
Как да използвате полуавтоматична пералня? За да използвате полуавтоматична пералня, трябва да сте постоянно близо до уреда, като му помагате да изпълнява функцията си. ...
Отложен старт в пералнята За да може пералнята да пере след 6 часа, а не точно сега, домакинята трябва да активира функцията за отложен старт. ...
Какво е екосушене в пералня LG? Сред другите програми на моята пералня със сушилня LG има режим Eco-Drying. Дали е щадящ? Може ли да се използва...
Какво означава Cd на пералня и сушилня LG? За да използвате пералнята и сушилнята си LG, трябва да знаете някои от нейните работни функции. Например, какво означава кодът...
Нулиране на пералня LG Замръзнала ли ви пералня LG? Не бързайте да търсите сервизен номер; опитайте просто да рестартирате машината.
Преглед на режимите на сушене в пералнята LG Добре подбраният режим на сушене помага за предотвратяване на повреда на дрехите по време на сушене. Пералните машини LG предлагат няколко програми с...
Ръководство за потребителя на пералня и сушилня LG Типичната пералня на LG изисква от потребителите да настроят три цикъла: пране, изплакване и центрофугиране. Уредите, оборудвани със сушилня...
Настройване на „Моята програма“ на пералня LG Можете просто да изберете и стартирате всяка програма на вашата пералня LG, с изключение на програмата „Моята програма“. Как да я настроите...
Какво е „Моята програма“ на пералня LG? Домакините са озадачени от функцията „Моята програма“ в пералните машини LG. Какво представлява този режим и каква е неговата цел?
Как да почистите барабана на пералня LG? Подозирате, че пералнята ви LG е силно замърсена? Необходима е превантивна поддръжка. Започнете с включване на функцията за почистване на барабана. Това е много...
Функцията "Вълна" в пералнята LG Много домакини смятат, че цикълът "Вълна" е подходящ само за вълнени дрехи. Това обаче не е напълно вярно. В някои...
Функция за бебешки дрехи в пералня LG Какви резултати може да очаква един собственик на жилище от използването на режима „Бебешки дрехи“? Съдейки по отзивите, новите майки всъщност не го използват...
Програмата „Памук“ в пералнята LG Спалното бельо се пере най-добре на цикъла „Памук“, но това е универсалната програма на пералнята LG и функционалността ѝ е много...
Програмата за спортно облекло в пералнята LG Съвременните домакини наистина не обичат да перат спортни дрехи на ръка, но за щастие производителите на перални машини LG са предвидили режим...
Програма за здравни грижи на пералнята LG Корейците обичат закачливи имена. Така че, за един напълно обикновен режим, те измислиха името „Здравеопазване“. Наистина ли е...
Програмата Quick 30 в пералнята LG Ако няма сериозни петна по прането, няма смисъл да го оставяте в барабана на пералнята LG за 1,5 часа. ...
Как да използвам режима на таймера на пералня LG? Не всеки ден се налага да включвате таймера на автоматичната си пералня LG, така че домакините често забравят или дори не...
Каква програма трябва да използвам за пране на завеси в пералня LG? Експериментирането с пране на завеси в автоматична пералня LG може да завърши зле, ако не знаете кой цикъл да използвате...
Управлявайте пералнята си LG от телефона си Например, трябва да стартирате пералнята си LG в определено време, така че тя да завърши програмата си до...
Как да се свържа с пералня LG чрез телефон? Възможността за свързване на пералня LG с мобилен телефон не е нищо ново, но на практика не е...
Първо използване на пералнята без пране Току-що сте инсталирали пералнята си и все още не сте извършили първото си пране? Не бързайте да пускате машината. Прочетете внимателно инструкциите...
Какво означава символът на ютията на пералнята? Видяхте ютия на контролния панел на новата си пералня и си помислихте, че тя вече знае как да глади дрехи? Не бързайте толкова...
Табела за предварително пране на пералня Собствениците на жилища се разочароват, когато панелите на пералните им машини показват символи вместо ясни етикети. Как мога да намеря диаграмата, показваща режима на пране...
Символ за накисване на пералня Някои икони са вече познати на собствениците на жилища, тъй като изображенията им красноречиво описват програмите, които представляват. Но...
Трябва ли да държите пералнята си отворена? След като завършат цикъла, домакините изваждат прането от пералнята и след това оставят вратата отворена. Дали това е добра идея или...
Детска ключалка на пералня Electrolux Случайното активиране на детската защита предотвратява рестартирането на пералнята Electrolux от страна на собствениците на жилища. Как работи?
Детска ключалка на пералня Bosch Играта с пералня Bosch е опасна във всеки смисъл на думата, затова инженерите са измислили детска ключалка. За да...
Детска ключалка на пералня Beko Като включите детската защита, можете спокойно да оставите пералнята си Beko да работи, без да се притеснявате, че малко дете ще натисне...
Детска ключалка на пералня Siemens Дете, което си играе с контролния панел на пералня Siemens, може да има много неприятни последици. За да избегнете проблеми, е важно да...
Детска ключалка на пералня Samsung Ако вашето мъниче проявява силен интерес към пералнята Samsung, може би е добра идея да се научи как да използва функцията за заключване.
Детска ключалка на пералня Indesit Корейските и немските перални машини имат функция за заключване за деца на контролния панел. Работи перфектно и...
Детска защита на пералня Candy За да използвате пералнята си Candy по-безопасно, трябва да научите за механизмите за заключване на контролния панел. Защита...
Кога трябва да добавя омекотител за тъкани в пералнята си? Когато добавя омекотител към пералня, домакинята може да не види ефекта от употребата му поради просто нарушение на инструкциите. ...
Колко омекотител трябва да сложа в пералнята си? Разбира се, можете да перете неща без омекотител, но ако има възможност да направите прането си по-меко, защо...
Функция за лесно гладене в пералнята Включвате ли настройката „Лесно гладене“ на новата си пералня и не сте сигурни за какво е тя? Някои хора си мислят...
Как работи пералнята Malutka? Разработена още по съветско време, пералнята „Малютка“ е актуална и днес. Летните жители никога не биха...
Как да стартирам процеса на сушене в пералня? За да избегнете повреда на прането си, е важно правилно да настроите автоматичната си сушилня. Самото натискане на бутон на контролния панел на пералнята не е достатъчно...
Режим „Освежаване с пара“ в пералнята Докато любопитно четат контролите на пералнята си, домакините откриват функцията „Освежаване с пара“. Какво е тя?
Как да използвам сушилня? Правилната употреба на сушилнята на автоматичната пералня ще предотврати повреда на прането ви и ще осигури дълготрайна служба. Всичко...
Режим на пране с пара в пералня Пералните машини с парогенератор имат функция "Пране с пара". Тази функция активира уникален алгоритъм, който почиства дрехите, без да ги намокря...
Как да включите пералня Вятка? Имало е случаи, в които автоматичната пералня Вятка се е повреждала след включване и е стартирала неправилно. Следователно, преди да продължите...
Табела за сушене в сушилня Когато споменаваме иконата за сушене, имаме предвид цяла група символи, които могат да бъдат намерени на панела...
Как да свържа пералня към резервоар за вода? Често майсторите, които правят всичко възможно, свързват автоматични перални машини дори без течаща вода и те функционират доста добре. Как да свържете...
Как да преведем „Vorwasche“ на пералня Тъй като немските перални машини са толкова висококачествени, руските потребители са готови да толерират неудобството от използването на контролен панел без превод. За да...
Как се казва "Koch" на пералня? Пералните машини, произведени в Германия за вътрешния пазар, имат контролни панели на немски език. Инструкциите не са...
Как да преведем „Abpumpen“ на пералня В някои случаи електронен речник не успява да преведе немските думи, които често се срещат на контролните панели на пералните машини...
Как се казва "Spulen" на пералня? Не е необичайно да видите перални машини от Германия с малък брой символи и много неясни думи на немски език. ...
Как да преведем „Центрофуга“ на пералня Ще се съгласите, че е неудобно да прелиствате англо-руски речник всеки път, когато трябва да разберете коя е следващата дума, написана на контролния панел на пералнята ви. Как...
Как се превежда "Schleudern" на пералня? Не говорите немски, но сте си купили пералня, родом от Германия? Преведете всички непознати думи, преди да преминете към практично...
Къде да добавя препарат за премахване на петна в пералнята си? Решили сте, че не можете да живеете без препарат за премахване на петна, но никога не сте използвали такъв в пералнята си? Няма проблем, ако знаете...
Как се казва "Risciaqui" на пералня? Висококачествените италиански перални машини са надеждни и се представят добре, но радостта от използването им е помрачена от надписите на панела...
Как се превежда "Pflegeleicht" на пералня Техническият немски е доста труден за превод. Дори онлайн речниците се затрудняват да свършат работата правилно. Например, какво означава...
Как се превежда "Fein" на пералня? Изобилието от немски думи на контролния панел на пералня, произведена в Германия, обърква руските потребители. Когато не научих езика,...
Как да преведем „Ammorbidente“ на пералня Автоматичните перални машини, произведени за италианския пазар, имат етикети на контролния панел без руски превод. След като...
Табела за ръчно пране на пералня За да избегнете объркване с програмите на вашата пералня, внимателно проучете иконите, използвани за тяхното обозначаване. Например „Ръчно пране“...
Табела за изтичане на пералня Различните автоматични перални машини имат различни икони за източване, което може да обърка някои собственици на жилища. За тези, които не са сигурни...
Пералнята мирише на канализация. Миризмата на канализация, идваща от пералнята ви, не е толкова тревожна, колкото е източникът ѝ. Какво трябва да направите...
Как се пише "spin" (въртене) на пералня на английски? Някои думи, написани на английски на контролния панел на пералнята, може да са объркващи. Ярък пример е...
Машинно пране без центрофугиране Всяка пералня има специален бутон или превключвател, който ви позволява да перете без центрофугиране. Как да го настроите...
Мога ли да включа пералня в обикновен контакт? За да се осигури надеждна работа и да се избегне претоварване на електрическата система, пералнята изисква специален контакт, защитен с прекъсвач. Обикновен контакт...
Пране без прах в пералня Известни блогъри разпространяват слухове, че можете да перете дрехи в автоматична пералня, без да използвате никакъв препарат. Те казват...
Трябва ли да изключа пералнята си от мрежата след пране? Ако оставите пералнята си изключена от контакта, това може да я повреди и дори да причини пожар. Това е мнението...
Табела „Без центрофугиране“ на пералня Когато стартирате програма, не винаги е нужно да избирате опцията „Без центрофугиране“. И когато внезапно ви потрябва, няма да...
Използване на пералня Vestel За да се осигурят най-добри резултати от прането, е необходимо да се овладеят всички програми и функции на пералнята Vestel, като се използват по подходящ начин...
Включване на пералнята Vestel След закупуване на нова пералня Vestel, някои собственици на жилища дори имат проблеми с правилното ѝ включване. Всъщност, пускането ѝ в експлоатация...
Използване на пералня Daewoo Мислите, че пералнята ви Daewoo не пере дрехите ви правилно? Сигурни ли сте, че знаете как да я използвате правилно?
Програма за самопочистване за перални машини Gorenje Активирането на функцията за самопочистване позволява на вашата пералня Gorenje да премахне натрупаните замърсявания. Пуснете...
Включване на пералнята Gorenje Запознаването с новата ви пералня Gorenje не бива да започва с безразсъдно натискане на всички бутони безразборно. ...
Режими и програми на пералня Gorenje Заредили сте пералнята си Gorenje с пране и не сте сигурни коя програма да изберете? Най-добре е първо да разгледате режимите на пране, а след това...
Къде да сложите перилен препарат в пералня Gorenje Отворили сте отделението за перилен препарат на вашата пералня Gorenje и не знаете къде да го сложите? Има три...
Как да използвате правилно пералня Hansa? Безупречната работа на пералня Hansa зависи не само от нейните софтуерни алгоритми и функции, но и от това кой...
Включване на пералнята Hansa За да може вашата пералня Hansa да започне да пере купчина мръсно пране, тя трябва да бъде включена правилно. Под това имаме предвид...
Къде да сложа перилен препарат в пералня Siemens? Ако добавите грешен перилен препарат към пералнята си Siemens, може да се окажете с лошо изпрани дрехи. Къде всъщност трябва...
Как да изключа звуковия сигнал на пералня Siemens? Пералня Siemens, която бипка през нощта или рано сутрин, може да бъде доста досадна. Как мога да изключа звука, за да не ме безпокои?
Как да деактивирам заключването на пералня Siemens? Забелязали ли сте, че вашата пералня Siemens вече не реагира на потребителски команди? Вероятно уредът трябва да бъде правилно отключен. За да направите това...
Как да отворя вратата на пералня Haier? Проблемите с заключването на вратата са често срещани при пералните машини Haier. Най-често вратата се отключва след пълно прекъсване на захранването, но...
Как да използвам пералня Haier? Току-що купихте и свържете пералнята си Haier? Не бързайте с прането. Отделете 15-20 минути, за да научите функциите на уреда,...
Къде да сложа перилен препарат в пералнята си Ardo? За да сте сигурни, че вашата пералня Ardo винаги осигурява висококачествени резултати, трябва да знаете точно къде да добавите перилния препарат. Домакински химикали,...
Включване на пералнята Haier Изпробвате новата си пералня Haier за първи път? Пуснете я без пране по специален начин, за да изплакнете фабричното...
Как да извадите чекмеджето за перилен препарат от пералня Ardo? Не можете да извадите отделението за перилен препарат? Не е изненадващо, тъй като пералните машини Ardo имат необичаен начин за неговото изваждане...
Режими на пране на пералня Ardo Разбира се, пералнята Ardo няма да премахне петната много добре, ако използвате само една или две програми. За най-добри резултати...
Колко време отнема прането в пералня Ardo? За да изчислите предварително времето за пране в пералня Ardo, трябва да знаете колко дълго траят програмите ѝ в различни режими. ...
Диагностичен режим на пералня AEG Ако вашата пералня AEG замръзне по някаква причина, трябва да активирате диагностичен режим. Машината ще извърши самотест и ще идентифицира повредата...
Как да използвам пералня Miele? Качеството на грижата за прането на вашата пералня Miele зависи от малките детайли. Дори и да забравите да активирате допълнителна функция,...
Декодиране на символите на пералня Whirlpool За да извлечете максимума от вашата пералня Whirlpool, трябва да знаете всички нейни програми и функции. Проблемът е...
Как да използвате правилно пералня Whirlpool? След закупуване и свързване на чисто нова пералня Whirlpool, собствениците бързат да започнат да я използват, без дори да прочетат правилно инструкциите. Точно така...
Как правилно да включите пералня Whirlpool? За да сте сигурни, че вашата пералня Whirlpool пере прането ви ефективно, трябва не само да я включите, но и да изберете правилната програма и...
Почистване на пералня Zanussi Понякога пералнята Zanussi започва да се държи зле: източва лошо водата или замръзва по време на цикъл. Решението се крие в бързото...
Почистване на пералня Electrolux Вашата пералня Electrolux се нуждае от периодично почистване. Можете да я почистите сами, но трябва да следвате план...
Как да отворя вратата на пералня Electrolux? При нормални условия, отварянето на всяка пералня Electrolux след края на програмата е лесно. Но ако...
Бързо пране в пералня Electrolux Програмата „Памук“ на пералнята Electrolux дава много чисти резултати, но отнема невероятно много време. Затова домакините често използват цикъла на бързо пране.
Включване на пералнята Electrolux Нова пералня от всяка марка, включително Electrolux, трябва да бъде пусната в експлоатация правилно. По-конкретно,...
Нулиране на пералня Electrolux Вашата пералня Electrolux може да работи добре години наред, само за да спре внезапно да работи. Никой...
Къде да сложа перилен препарат в пералнята си Electrolux? За да сте сигурни, че ще се насладите на използването на вашата пералня Electrolux, трябва да знаете точно къде да сложите перилния препарат. Научете как работи отделението за перилен препарат...
Живот на пералня Electrolux Собствениците на по-стари перални машини Electrolux знаят със сигурност, че уредите им са в експлоатация от 20 или повече години. По-новите модели...
Как да използвате пералня Electrolux? Да имате висококачествена пералня Electrolux и да не знаете как да я използвате? Това е напълно неприемливо и трябва да се поправи незабавно...
Режим на обслужване на пералня Electrolux Можете сами да диагностицирате вашата пералня Electrolux за грешки и неизправности, използвайки системата за самодиагностика. Просто трябва да знаете...
Колко време отнема прането в пералня Electrolux? Времето за пране в пералня Electrolux ще зависи от избрания от вас режим, който е представен на панела като различни...
Транспортни болтове за пералня Electrolux За да задържат здраво барабана на вашата пералня Electrolux, те са разработили транспортни болтове. Не можете да използвате машината с тях, но как да разберете...
Колко време отнема прането на дрехи в пералня Kandy? За да се осигури най-висококачествена грижа за прането, е важно да се знае времената за пране за различните цикли. Това се отнася за повечето...
Как да отворя вратата на пералня Candy? Понякога, поради системна повреда, вратата на пералнята Candy остава заключена, въпреки че цикълът отдавна е приключил. Как да отворя вратата и...
Иконата „Деликатно пране“ на пералня Electrolux След закупуване на пералня Electrolux, потребителите забелязват множество икони на уреда. Ако те не са обозначени, възниква проблем...
Мениджър на време на пералня Electrolux Невероятно полезната функция „Мениджър на времето“ прави живота на домакините много по-лесен, но само ако знаят как да...
Премахване на транспортните болтове на пералня Candy Инженерите са проектирали специално транспортни болтове за безопасно транспортиране на пералнята Candy. За правилна работа обаче винтовете трябва да бъдат...
Нулиране на пералня Candy Пералня Candy, която е започнала да се държи зле, може да се нуждае от рестартиране, но как да го направите правилно? Не искате да се обаждате само заради...
Първо стартиране на пералнята Candy След като закупите и инсталирате пералнята си Candy, не перете мръсно пране в нея веднага. Можете просто...
Къде да сложа праха за пране в пералнята си Candy? Имате нова пералня Candy и не можете да разберете в кое отделение да сложите перилния препарат? Разбира се, можете...
Как да включите пералня Candy? За да функционира правилно вашата пералня Candy, тя трябва да бъде включена правилно. Натискането на бутона "Захранване" е просто...
Нулиране на програмата на пералня Candy Опитвате се да рестартирате програмата и тя не работи? Не е трудно с пералня Candy, но има...
Как да изключа звука на пералня Bosch? Не всеки си прави труда да изключва звука, но някои хора намират бипкащия звук на пералнята си Bosch за много досаден. Възможно ли е...
Нощна програма за пералня Bosch Пералните машини Bosch не са единствените със специална нощна програма, но тя е внедрена най-често...
Как да регулирате крачетата на пералня Bosch? За да предотвратите подскачането на пералнята Bosch из банята по време на центрофугиране, регулирайте крачетата ѝ. Затегнете...
Интензивно пране в пералня Bosch За особено замърсени дрехи, инженерите на Bosch разработиха интензивна програма за пране за перални машини. Тази програма...
Предварително пране в пералня Bosch Понякога е вярно, че можете да включите предварително пране, за да направите процеса още по-ефективен, но потребителите на перални машини Bosch пропускат това...
Как да почистите пералня Bosch от мръсотия? Ако редовно използвате пералнята си Bosch, трябва да помислите и как да почиствате вътрешността ѝ. За да направите това...
Как да изключа цикъла на центрофугиране на пералня Bosch? Как мога да постигна най-нежното пране в моята пералня Bosch? Първо, като изключа цикъла на центрофугиране, но как да направя това, ако...
Ключовата лампичка на моята пералня Bosch свети. В нормална ситуация, когато пералня Bosch върти мръсно пране в барабана, на контролния панел трябва да свети ключова лампичка. ...
Къде да сложа омекотител в пералня Bosch? Всеки път, когато омекотител за тъкани на пералня Bosch се излее в отделението за перилен препарат, собственикът му хаби продукта, хвърляйки пари на вятъра за...
Как да премахнете транспортните болтове на пералня Bosch? За да сте сигурни, че новата ви пералня Bosch работи тихо и надеждно, е изключително важно да премахнете транспортните болтове. Намерете...
Можете ли да перете само един артикул в пералня? Твърде ви мързи да перете на ръка само една дреха? Спестете време и усилия, като използвате пералня. Единственото нещо, което ви спира, е рискът от счупване...
Възможно ли е пералнята да се включи чрез удължителен кабел? Експертите отдавна са формулирали ясни изисквания за свързване на пералня към електрическата мрежа. Но лошо обмислените комуникации в...
Възможно ли е да се налива гореща вода в автоматична пералня? Искате да използвате топла вода в пералнята си, за да спестите пари? Това е съмнително решение, особено след като го правите...
Какво е комбинирано пране в пералня? Програма „Комбинирано пране“ е налична за различни модели перални машини Atlant. Какво е специалното в този режим? Можете ли да намерите...
Мога ли да пера дрехи в пералня, ако няма топла вода? Може ли пералнята ви да пере, ако топлата вода е спряна? Ако уредът е свързан правилно, тогава...
Символът „Вълна“ на пералнята Някои производители не обозначават програмите на контролните панели на пералните си машини. Тези етикети са заменени от специални икони, но какво означават те?
Къде да налея белина в пералнята си? Донякъде сме свикнали да перем дрехи в обикновена пералня. Но какво ще стане, ако трябва да добавите белина?
Какво е самопаркиране в пералня? За да се избегнат проблеми при зареждане и изваждане на пране от пералня с горно зареждане, има функция...
Колко комплекта спално бельо можете да сложите в пералня? Можете ли да заредите три, четири или може би пет комплекта спално бельо в пералнята едновременно? Това...
Как правилно да заредите спалното бельо в пералнята? Има ли смисъл да се зарежда правилно спалното бельо в барабана на пералнята, тъй като то все пак ще се разбърка вътре и...
Каква е разликата между електронното и механичното управление в пералнята? Старите перални машини с ръчно управление са служили по 20 или повече години. Защо са били заменени с електронни?
Почистване на пералня с народни средства В напреднали случаи почистването на пералня може да бъде много трудно. Можете да прекарате цял ден в „танцуване“ около уреда и все още да не...
Цикъл на вълна в пералнята Някои домакини изобщо не използват режима "Вълна", смятайки го за най-безполезната от програмите, които са в паметта на машината...
Как да почистим ръжда от пералня? Следи от ръжда по корпуса на пералня могат да бъдат резултат от много по-сериозен проблем, тъй като не само...
Как да разглобим и почистим пералня? За да поддържате пералнята си да работи безупречно, тя се нуждае от основно почистване. Това не е лесно, тъй като мръсотията „дебне“ в...
Как да почистите мухъл от маншет на пералня? Вездесъщата черна плесен може да се скрие в гънките на уплътнението на вратата на вашата пералня, без дори да забележите.
Как да почистим пералня от отпадъци? Решили сте да почистите автоматичната си пералня за първи път? Това е похвална идея, но не забравяйте, че трябва да следвате инструкциите, в противен случай...
Как да почистите мухъл от отделението за перилен препарат в пералнята? Ако пералнята ви не се поддържа безупречно чиста, тя няма да изпълнява предназначената си функция. По-конкретно,...
Как да премахна котления камък от отделението за перилен препарат на пералнята? Поддръжката на пералнята е от съществено значение, особено що се отнася до премахването на котлен камък. Как да почистите отделението за перилен препарат...
Как да почистите отделението за омекотител в пералня? Когато използват перални машини, домакините забелязват колко замърсява отделението за омекотител в чекмеджето за перилен препарат. Как да го почистите с минимални усилия...
Почистване на пералня със сода за пране Ако трябва да почистите пералнята си и нямате висококачествен търговски продукт под ръка, няма нужда да бързате да...
Как да почистите пералня с оцет и сода бикарбонат? Цялостното почистване на пералня е доста досаден процес. Трябва да почистите отделението за перилен препарат, да изчеткате вдлъбнатината на диспенсъра, да изтъркате...
Как да почистите пералня с горно зареждане? Всъщност, пералнята с горно зареждане има „проблемни зони“, където се натрупва мръсотия. Почистването на тези части е доста...
Как да почистите пералня от миризма с помощта на лимонена киселина? Много домакини предпочитат да използват лимонена киселина вместо специализирани почистващи препарати. Някои предлагат почистване на пералнята с това вещество, за да се отърват от...
Пералнята мирише след почистване с лимонена киселина. На теория, пералнята би трябвало да мирише добре след почистване с лимонена киселина, но това, което очаквате, не винаги съответства на това, което всъщност получавате.
Какво се случва, ако не почиствате филтъра на пералнята си? Искате ли сами да видите какво се случва, ако пренебрегнете правилата и не почистите филтъра на пералнята си? Оставете...
Заглавия
Ремонт на перални машини
За купувачи
За потребители
Съдомиялна машина
